
A recently published patent filing from Samsung Electronics has revealed the company’s ongoing efforts to strengthen its ecosystem through tighter integration between Galaxy smartphones and wearable XR devices. The patent, made public by the China National Intellectual Property Administration (CNIPA), outlines an innovative interaction system linking XR glasses with a smartphone using gaze-based control to trigger or transfer actions across devices. This hints at Samsung’s long-term vision for a unified augmented and extended reality platform.
XR glasses interacting with Galaxy smartphones

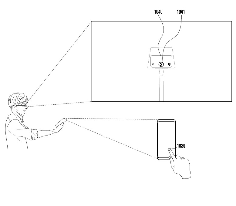
According to the documentation, the system involves a first electronic device (the XR glasses) and a second electronic device (a smartphone). The glasses feature built-in sensors, a display module and cameras that track the user’s head and eye movement to detect what object or area they are focusing on.
When the system confirms the user’s gaze on a specific object, it can initiate communication with the connected smartphone to perform a related action. The diagrams in the filing illustrate how a user wearing the XR glasses interacts with their phone using gaze detection and gestures.
Once confirmed, the XR interface can send control signals or visual overlays through the glasses to extend the phone’s functionality.
The technology essentially allows tasks to be handed off between devices in real-time. For example, a user could glance at a notification or app in view through the glasses and instantly continue the task on their Galaxy phone.
Samsung’s approach also supports virtual object overlays, IoT device registration, and adaptive control based on viewing direction or user gestures. If realised, this could mark an important milestone in building an immersive Galaxy ecosystem connecting smartphones, AR/XR wearables, and smart home devices in one interface.
Readers should note that companies often file multiple patents, but not all of them result in a commercial product.

















