
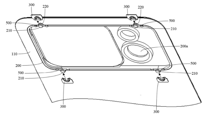
Vivo has filed a new patent that hints at a different approach to securing camera rings inside smartphone camera modules. If we go by the sketches, the company appears to be working on a locking mechanism that holds the camera decorative ring in place, instead of depending completely on glue.
The drawings show a series of components, including mating protrusions, limiting structures, and elastic pressing parts, that seem to clamp the camera ring mechanically. From the figures, it looks like Vivo wants the ring to latch into the housing using an elastic fitting section and a pressing element. This approach may make the camera ring more stable, reduce movement, and improve overall durability.
If the details in the patent are interpreted correctly, this system may also help simplify assembly. Camera rings are usually fixed using adhesives, which can complicate repairability and increase manufacturing effort. The mechanical locking design seen in the sketches suggests easier installation, consistent alignment, and potentially lower production costs for the camera module.
There’s also a chance that this design could prevent long-term issues like ring detachment or misalignment, which sometimes occur when adhesives weaken due to heat or pressure. A secure locking structure may help maintain the shape and positioning of internal hardware as well.
However, this is just a patent filing and there is no confirmation from Vivo about using this system in a commercial smartphone. Companies often explore different design ideas through patents, and not all of them make it to actual products.
Upcoming Vivo X300 Pro and New Line-up
The company is preparing for a major flagship launch in December with the Vivo X300 Pro. It will feature a 6.78-inch LTPO AMOLED display, a 200MP Zeiss-tuned camera, MediaTek’s Dimensity 9500 chipset, improved cooling, and a large 6510mAh battery. The X300 and X300 FE are also on the way, along with multiple upcoming models such as the Y500 5G, V60 Lite 5G, T5 Ultra, and budget devices like the Y19e and Y29s 5G.

















