
Huawei appears to be expanding its focus on AR and VR technology. A newly published patent from China’s National Intellectual Property Administration (CNIPA) reveals that the company is working on an interactive smart glasses system featuring a detachable strap that can double as a wearable smart ring. The filing, published under the number CN120871434A, describes a compact interaction device that can connect to the smart glasses for seamless control and enhanced immersion. The patent, filed by Huawei Technologies Co., Ltd., lists Chen Qi and Yang Linlin as inventors, suggesting the concept is already in advanced R&D stages within Huawei’s wearable division.
A detachable strap that turns into a smart ring
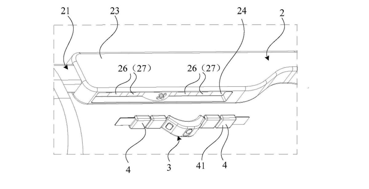
The patent document outlines that Huawei’s smart glasses include a flexible strap-like component which can be worn on the finger like a ring when detached. In this form, it acts as a controller for gaming, gesture recognition, pointing, and navigation, supporting high-interaction use cases such as AR gaming or virtual workspace control.
When reattached to the glasses, it provides simpler functions like taps and swipes, and even recharges automatically, eliminating the need for a separate controller.
This dual-function design aims to balance strong and light interaction scenarios, allowing full gesture control in immersive experiences while reducing complexity during passive use like watching media. The patent also highlights magnetic attachment, wireless communication, and inertial sensors for accurate movement detection.
It further describes a modular construction with multiple functional units, such as touch-sensitive areas and mechanical buttons, enabling both haptic and gesture-based feedback to enhance user responsiveness in different AR and VR applications.
Huawei’s concept prioritises comfort, portability, and smooth interaction between the ring and glasses. When attached, the smart ring fits neatly into a groove on the glasses’ frame, maintaining a sleek design and improving storage convenience.
While the company has not announced any commercial plans, this innovation suggests Huawei’s ambition to make AR/VR devices more adaptive and user-friendly.














